సురక్షిత ఫాస్టెనింగ్ షట్కోణ బోల్ట్ ప్యాకేజింగ్ వాటిని క్రమబద్ధంగా ఉంచడానికి మరియు నష్టాన్ని నివారించడానికి రూపొందించబడింది. ఈ ప్యాకేజింగ్ పెట్టెలు స్లాట్లను అమర్చిన మృదువైన లైనింగ్తో వస్తాయి. బోల్ట్లు వాటిలో తల నుండి తలపై కూర్చుంటాయి, కాబట్టి ప్రతి హెక్స్ బోల్ట్ అలాగే ఉంటుంది. ఇది వాటిని త్వరగా ఎంచుకొని ఉంచేలా చేస్తుంది మరియు షిప్పింగ్లో ఎలాంటి గీతలు పడకుండా చేస్తుంది. భారీ రవాణా కోసం, షట్కోణ బోల్ట్లు తరచుగా ఒక్కో బ్యాగ్కు 500 ముక్కలు ప్యాక్ చేయబడతాయి. ఈ సంచులను లోపలి పెట్టెల్లో ఉంచుతారు మరియు లోడ్ స్థిరంగా ఉంచడానికి చెక్క కేసులను బలోపేతం చేస్తారు. క్లిష్టమైన పరిశ్రమల కోసం, హై-స్పెక్ ప్యాకేజింగ్ ఎంపికలు కఠినమైన సైనిక ప్రమాణాలకు అనుగుణంగా ఉండవచ్చు. ఇది నిల్వ మరియు షిప్పింగ్ సమయంలో తుప్పు నుండి బోల్ట్లను రక్షించే సీల్డ్, గ్రీజ్ప్రూఫ్ మరియు వాటర్ప్రూఫ్ బ్యాగ్లను కలిగి ఉంటుంది.
హెక్స్ బోల్ట్లోని గ్రేడ్ దాని బలాన్ని చూపుతుంది. సులభంగా గుర్తించడం కోసం ఈ గ్రేడ్ మార్కింగ్లు బోల్ట్ల తలలపై ఉంటాయి. సాధారణ ISO గ్రేడ్లలో 4.6, 8.8, 10.9, మరియు 12.9 ఉన్నాయి.గ్రేడ్ 8.8 ఒక సాధారణ మీడియం-స్ట్రెంత్ బోల్ట్, అయితే 10.9 మరియు 12.9 అధిక-బలాన్ని కలిగి ఉంటాయి మరియు కార్లు మరియు నిర్మాణం వంటి డిమాండ్ ఉన్న ప్రాంతాల్లో ఉపయోగించబడతాయి. A307 మరియు A325 వంటి ASTM ప్రమాణాలు కూడా బోల్ట్ పనితీరును నిర్వచించాయి. సెక్యూర్ ఫాస్టెనింగ్ షట్కోణ బోల్ట్ని ఎంచుకోవడం భద్రతకు కీలకం, ఎందుకంటే బోల్ట్ లోడ్ను విఫలం కాకుండా నిర్వహించగలదని నిర్ధారిస్తుంది.
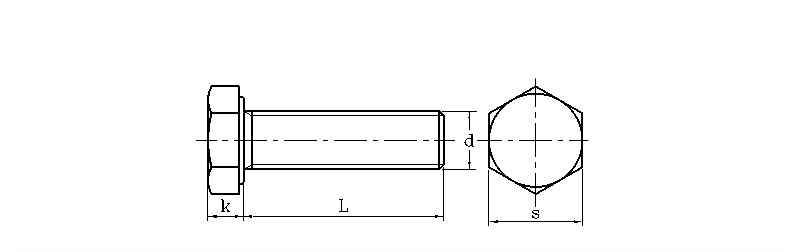
| మి.మీ | |||||||
| d | S | k | d | థ్రెడ్ | |||
| గరిష్టంగా | నిమి | గరిష్టంగా | నిమి | గరిష్టంగా | నిమి | ||
| M3 | 5.32 | 5.5 | 1.87 | 2.12 | 2.87 | 2.98 | 0.5 |
| M4 | 6.78 | 7 | 2.67 | 2.92 | 3.83 | 3.98 | 0.7 |
| M5 | 7.78 | 8 | 3.35 | 3.65 | 4.82 | 4.97 | 0.8 |
| M6 | 9.78 | 10 | 3.85 | 4.14 | 5.79 | 5.97 | 1 |
| M8 | 12.73 | 13 | 5.15 | 5.45 | 7.76 | 7.97 | 1.25 |
| M10 | 15.73 | 16 | 6.22 | 6.58 | 9.73 | 9.96 | 1.5 |
| M12 | 17.73 | 18 | 7.32 | 7.68 | 11.7 | 11.96 | 1.75 |
| M14 | 20.67 | 21 | 8.62 | 8.98 | 13.68 | 13.96 | 2 |
| M16 | 23.67 | 24 | 9.82 | 10.18 | 15.68 | 15.96 | 2 |
| M18 | 26.67 | 27 | 11.28 | 11.7 | 17.62 | 17.95 | 2.5 |
| M20 | 29.67 | 30 | 12.28 | 12.71 | 19.62 | 19.95 | 2.5 |
మీరు మీ సురక్షితమైన ఫాస్టెనింగ్ షట్కోణ బోల్ట్ల కోసం మెటీరియల్ మేకప్ మరియు తుప్పు రక్షణ ఎంపికలను వివరించగలరా?
మేము తక్కువ-కార్బన్ స్టీల్, బలమైన అల్లాయ్ స్టీల్ మరియు స్టెయిన్లెస్ స్టీల్ (A2-304 మరియు A4-316) వంటి విభిన్న పదార్థాలలో మా హెక్స్ బోల్ట్లను ఉత్పత్తి చేస్తాము. తుప్పు నుండి రక్షణ కోసం, మేము ఎలక్ట్రో-గాల్వనైజ్డ్ జింక్, హాట్-డిప్ గాల్వనైజింగ్ మరియు డాక్రోమెట్ వంటి పూతలను అందిస్తాము. సరైన పూతను ఎంచుకోవడం అనేది బోల్ట్ ఎంతకాలం ఉంటుంది, ముఖ్యంగా నిర్మాణ స్థలాలు లేదా సముద్రానికి సమీపంలో ఉన్న కఠినమైన ప్రదేశాలలో.
